产品特点:
1.可靠性高,叶轮计量机构采用机械传动,灵敏可靠;计数机构采用干式构造,真空密封,清洁清晰。
2.准确性高:光电数码与传统机械字轮组合应用,数码识别读数与人工识别字轮读数完全同步,无累计误差。
3.性价比高:采用常德专利技术,在实现近距离自动抄表功能的前提下,最大限度地降低了制造成本,为客户提供了一种性价比最高的能自动抄表的水表产品。
4.持久性高:无需使用电池,零功耗设计,只需保持水表镜面清洁,可长期有效使用。使用寿命同普通机械式水表,远高于同类电子式水表。
5.使用成本低:无需接电、无需更换电池、零成本运行,传动机构采用机械传动通用国标件,换件成本低廉、维修简单,水务公司可以自行维修。
6.故障率低:机械传动、光电识别,同时兼顾了普通机械水表的可靠性和电子水表的自动抄表功能,故障率远低于电子水表。
产品参数:
|
口径(DN)mm |
15 |
20 |
25 |
|
|
过载流量(Q4)m³/h |
3.125 |
5 |
7.785 |
|
|
常用流量(Q3)m³/h |
2.5 |
4 |
6.3 |
|
|
分界流量(Q2)m³/h |
0.04/0.025 |
0.064/0.04 |
0.1/0.063 |
|
|
最小流量(Q1)m³/h |
0.025/0.016 |
0.04/0.025 |
0.063/0.04 |
|
|
测量范围(Q3/Q1) |
100/160 |
|||
|
计量等级 |
2级 |
|||
|
工作压力 |
≤1 M Pa |
|||
|
压损等级 |
△P63(≤0.063M Pa) |
|||
|
工作温度 |
冷水表(T30):0.3℃~30℃ |
热水表(T90):0.3℃~90℃ |
||
|
流动剖面敏感度等级 |
U10,D5 |
|||
|
气候和机械环境安全等级 |
B级 |
|||
|
电磁兼容性等级 |
E1级 |
|||
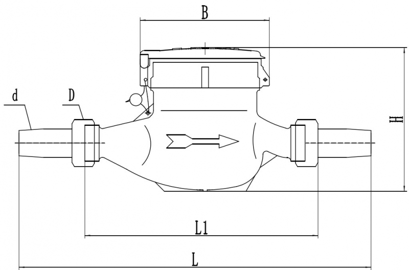
安装尺寸:

外型尺寸(mm)
|
公称口径 (DN) |
长度 (mm) |
宽度 (mm) |
高度 (mm) |
连接螺纹 |
重量(球铁) (Kg) |
||
|
L |
L1 |
B |
H |
d |
D |
||
|
15 |
258 |
165 |
96 |
106 |
R1/2 |
G3/4 B |
1.6 |
|
20 |
299 |
195 |
96 |
107 |
R3/4 |
G1 B |
2.1 |
|
25 |
345 |
225 |
101 |
114 |
R1 |
G1 1/4 B |
2.6 |

